Running exhaust duct through unconditioned attic
I’m currently air-sealing the ceiling of the house I purchased a few months ago. Among the issues I’ve encountered are two exhaust fans whose (flexible) ducts terminate in the attic. One is the kitchen exhaust fan and one is the bathroom fan.
我想更换导管与刚性lvanized duct, insulate the duct, and run them through a gable wall. The nearest gable wall for each of these fans is about 25′ away. Given this, I have a couple of questions:
1. Should I consider installing 6″ duct instead of 4″ due to the relatively long length of duct I have to install? Each duct needs to make 180 degrees of turns total. The price difference isn’t much. I hate to admit it, but my only objection to 6″ is that I feel the size of the wall cap is rather unsightly…
2. Speaking of wall caps, could anyone let me know what the best practice is for detailing the wall/siding penetration? I have vinyl siding that I’m not planning on replacing anytime soon. Remove a couple courses of siding and install a wood or PVC trim block, then flash accordingly? Or is there a nice manufactured solution using vinyl trim elements?
谢谢!
Ben
Columbus, OH
GBA Detail Library
A collection of one thousand construction details organized by climate and house part



Replies
Ben,
我的投票是将管道尺寸升至6英寸。你不会后悔的。
Here is a link to a catalog showing some of the available vinyl siding accessories that you are looking for:
http://bluelinxco.com/Portals/0/docs/LiteratureLibrary/Siding%20and%20Trim/GP%20Vinyl%20Siding/Richwood%20Mounting%20Blocks%20and%20Vents%20Brochure.pdf
Even insulated you're likely to end up with condensation, even ice in a 25' duct in an unconditioned attic during cold snaps, made worse if you go with 6" duct. Even though the impedance of the smaller duct results in lower cfm, it'll run at a higher velocity, and you'll have only 2/3 the condensing surface area and 2/3 the thermal mass to bring up to temp when it's running.
No way to side-vent these near the fans, rather than an up & over long-haul duct? The shorter the duct and fewer turns== higher cfm, it's more effective, and you would have no condensation issues to be concerned about, especially if routed mostly inside of conditioned space.
马丁#1-感谢您的投票和链接。我会看那些产品。
Dana #2 - Your concern about velocity crossed my mind, but I wasn't sure how valid it was. I will, of course, run as much of the duct downhill as I can, toward the exterior.
没有办法可以靠近球迷。这房子是一个简单的矩形牧场,有宽阔的屋檐,因此,如果我终止在最近的墙上浴风扇...)。当然,我可以在屋顶上延长长度,但是我认为侧壁终止的好处超过了管道长度的弊端。
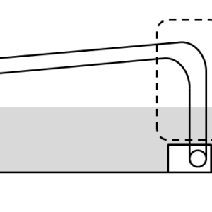
可能是有史以来最好或最坏的想法,但我想知道是否可以选择4“和6”的组合?这是我的理由:6“允许更多的CFM,但4”允许更高的速度。只要我下坡管道并很好地支持它,我就会感到一些凝结和结冰不会成为主要问题。但是,请看一下我的管道跑步的简化图片。
如果在这个“滴水危险区域”中发生凝结,那么我可能会滴入风扇回到浴室/厨房。我认为我可以通过这次垂直运行运行4英寸的管道,而不是过渡到6英寸。我仍然会从6英寸的长段以及“滴水危险区域”中的速度收益中获得一些气流收益。
Thoughts?